Категории
Кран шаровой полнопроходной 592 с удлиненным штоком для бесканальной прокладки приварной
Характеристики
Макс. температура (Т) °С.: до +80 °С
Мин. температура (Т) °С.: до -40 °С (исп. У), до -60 °С (исп. ХЛ)
Класс герметичности: Класс «А» ГОСТ 9544-2015
Срок службы: Не менее 40 лет.
Гарантийный срок: 3 года или не менее 10 000 циклов
Тип присоединения:
приварной/приварной
Используется для подземной установки.
Рабочая среда:
Теплосетевая вода, нефтепродукты, ГСМ, газообразные и другие рабочие среды, неагрессивные для материалов деталей крана.
Модификации
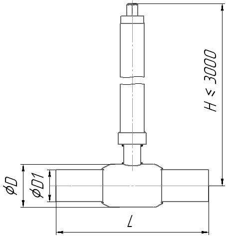
| Артикул | DN | PN | L | D | D1 | H | |
|---|---|---|---|---|---|---|---|
| 59220025 | 25 | 40 | 230 | 57 | 32 | по заказу | |
| 59220032 | 32 | 40 | 260 | 76 | 42 | по заказу | |
| 59220040 | 40 | 40 | 260 | 89 | 48 | по заказу | |
| 59220050 | 50 | 40 | 300 | 108 | 57 | по заказу | |
| 59220065 | 65 | 25 | 360 | 133 | 76 | по заказу | |
| 59220080 | 80 | 25 | 370 | 159 | 89 | по заказу | |
| 59220100 | 100 | 25 | 330 | 180 | 108 | по заказу | |
| 59220125 | 125 | 25 | 360 | 180 | 133 | по заказу | |
| 59220150 | 150 | 25 | 390 | 219 | 159 | по заказу | |
| 59220200 | 200 | 25 | 510 | 273 | 219 | по заказу | |
| 59220250 | 250 | 16/25 | 730 | 426 | 273 | по заказу | |
| 59220300 | 300 | 16/25 | 730 | 530 | 325 | по заказу | |
| 59220400 | 400 | 16/25 | 970 | 630 | 126 | по заказу |